Description
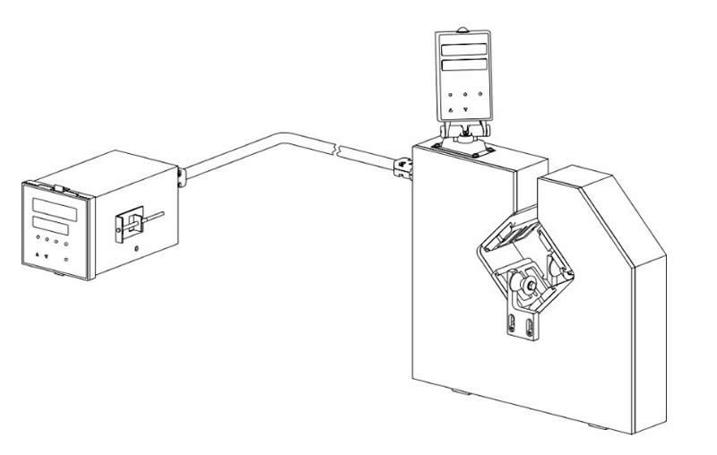
DDM-25XY (DDM-2025XY) Double Axises Diameter Laser Gauge
DDM-25XY Double Axises Diameter Laser Gauge also called Optical Micrometer, detecting diameter with laser and CCD technology, it was designed for wires and cables, which not only measure and display diameter and deviation online but also automatically control the diameter of wire according to user’s setting. The DDM25XY measure object in two vertical axes (X-axis and Y-axis).
A. Suitable for online measurement of any round wires, cable, fiber, tube, etc.
B. Non-contact measurement, high-speed inspection, high precision, and stable performance.
C. Inside PID regulation module.
D. Revolving operating panel.
E. RS485 communication interfaces, Modbus protocol.
F. Wide range of applications
Technical Parameters (Specifications)
| Model No. | DDM-2025L | DDM-2050L | DDM-2100L | DDM-25XY | DDM-50XY |
| Product Diameter | 0.1 ~25 mm | 0.1 ~48 mm | 0.5 ~95 mm | 0.1 ~25 mm | 0.1 ~48 mm |
| Accuracy | ± 2 μm | ± 2 μm | ± 5 μm | ± 2 μm | ± 2 μm |
| Exposure Time | 200 μS | 200 μS | 200 μS | 200 μS | 200 μS |
| Measuring Rate | 600 measurements/sec/axis | 600 measurements/sec/axis | 600 measurements/sec/axis | 600 measurements/sec/axis | 600 measurements/sec/axis |
| Interfaces | RS-485 | RS-485 | RS-485 | RS-485 | RS-485 |
| Power Supply | AC220V±10% , 50/60 Hz, 15 VA | AC220V±10% , 50/60 Hz, 15 VA | AC220V±10% , 50/60 Hz, 15 VA | AC220V±10% , 50/60 Hz, 15 VA | AC220V±10% , 50/60 Hz, 15 VA |
| Dimensions | 408 x 180 x 82 mm | 408 x 180 x 82 mm | 504 x 203 x85 mm | 355 x 330 x 82 mm | 355 x 330 x 82 mm |
Application and Features
DDM series laser diameter gauge is used for online diameter measurement for electric wire and cable, optic fiber cable, tubes, and wires. Typical applications: Measurement of the outer diameter of fine wire, Outer diameter lump, and neck down detection at ultra high speed, Outer diameter measurement in harsh environments.All digital image process technique and dedicated ultra-large-scale integrated circuit, which ensure high stability, compact size, and low power consumption.
RS-485 communication interface which makes the controller to be connected easily to an industrial computer, PLC and touch panel.
Mouthing position
DDM series laser diameter gauge can be mounted before or after the cooling trough. When it is mounted before the cooling trough, an optimized controlling effect may be obtained through in-time feedback due to the proximity of the measuring head to the extruder. But at this time the plastic coating is not cured, so the set nominal value must be accordingly. When it is mounted after the cooling trough, the measured value is the real diameter of the wire or cable. But the controlling effect is not so good because of the large control lag. Be sure to blow dry the tested wire or cable, otherwise, the measuring precision will be affected by the water coating around the wire or cable.
In practical using, the nominal value shall be increased appropriately according to the water content of the test object.
Check out the link below for the Application solution.
Laser Gauge Diameter Measurer Application in cable production line






